商品情報詳細
詳細情報
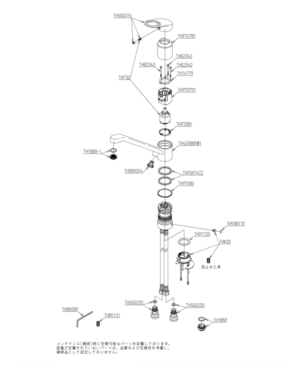
画像はイメージです。表示されている品番の仕様とは異なる場合があります。
- 品番
- :TK431ZA
- 商品名
- :台付シングル混合水栓(寒冷地用)
- シリーズ名
- :GG
- 希望小売価格
- :\64,400(税込\70,840)
品番 | TK431ZA |
---|---|
商品名 | 台付シングル混合水栓 |
生産開始 | 2020/10 |
生産終了 | |
図面(サイズ) | PDF(116KB) |
- ◆互換性注意情報
- 注意情報はありません。
- ◆補修品一覧
-
・分解図、補修品リスト、互換性注意情報は最新のものをお使いください。
・発注品番の希望小売価格は予告なく変更する場合がありますので、最新の補修品リストをご確認ください。
・発注品番欄に 非補修品 と表示のものは、原則として定期的な補修は不要です。要望される場合は製品交換をご検討願います。
・分解図中に専用工具の記載がある場合でも、補修品リストに専用工具の記載のない場合は別売品です。
・補修品は、外観形状・色調が異なる場合がございます。
・図番は分解図中に記載の番号です。 補修品を発注する際は「発注品番」に記載の品番でご発注ください。
・分解図中に図番があり補修品リストに図番・発注品番の記載のない補修品は、最寄りの取付店・販売店へご依頼してください。
- 【補修品リスト】
- 注1 リンクをクリックすると指定品番の分解図情報を表示します。
- 注2 発注品番の数量1個当たりの価格です。
図番 | 発注品番 注1 | 商品名 | 希望小売価格 (税込価格) 注2 |
数量 | 材料 | 下位の補修品 注1 |
備考 |
---|---|---|---|---|---|---|---|
TH5B0004 | TH5B0004 | 水抜弁部 | \1,200(税込\1,320) | 1 | あり | ||
TH5D0074 | TH5D0074 | ハンドル部 | \2,950(税込\3,245) | 1 | あり | ||
TH5G0233 | TH5G0233 | 給水ソケット | \1,900(税込\2,090) | 2 | あり | ||
TH93A74Z2 | TH93A74Z2 | Xパッキン | \620(税込\682) | 1 | 合成ゴム | あり | |
TH97D781 | TH97D781 | カバー | \1,750(税込\1,925) | 1 | 合成樹脂 | あり | |
TH97D791 | TH97D791 | ガイド | \700(税込\770) | 1 | 樹脂 | あり | |
TH97D81 | TH97D81 | ナットホルダー | \520(税込\572) | 1 | 合成樹脂 他 | あり | |
TH42086RW1 | TH42086RW1 | スパウト | \11,300(税込\12,430) | 1 | 青銅 他 | あり | |
TH62342 | TH62342 | 六角穴付きボルトM3×40 | \330(税込\363) | 3 | ステンレス鋼 他 | あり | |
TH74779 | TH74779 | 押え板 | \500(税込\550) | 1 | ステンレス鋼 | あり | |
TH85089 | TH85089 | 六角棒スパナ4 | \280(税込\308) | 1 | 鉄鋼 | あり | |
TH85151 | TH85151 | ねじ締め込みジグ | \230(税込\253) | 1 | 樹脂 | あり | |
TH91720 | TH91720 | パッキン | \170(税込\187) | 1 | 合成樹脂 | あり | |
TH93817E | TH93817E | キャップ | \630(税込\693) | 1 | 合成ゴム | あり | |
TH97580 | TH97580 | リング | \690(税込\759) | 1 | 樹脂 | あり | |
THF32 | THF32 | シングルバルブ部 | \10,600(税込\11,660) | 1 | あり | ||
THK30 | THK30 | 上面施工用アダプター | \5,200(税込\5,720) | 1 | あり | ||
THYB68-1 | THYB68-1 | 泡まつキャップ | \580(税込\638) | 1 | あり | ||
THYB69 | THYB69 | アダプター | \270(税込\297) | 1 | あり |