商品詳細
2次元・3次元CADデータダウンロード
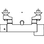
- 品 番 :
- TBV03459J
- 商品名 :
- サーモスタット混合水栓 GGシリーズ
- 給水方向 :
- 壁
洗面器・手洗器のあふれ面・カウンター高さについて
JIS記号・国土交通省記号品番対照表
現在の選択点数 : 0 点 / 200 点まで
2Dデータ・詳細図
一括ダウンロード
商品の分類とデータ形式を選択し対象のCADデータを全て一括ダウンロードできます。
洗面器・手洗器のあふれ面・カウンター高さについて
JIS記号・国土交通省記号品番対照表
現在の選択点数 : 0 点 / 200 点まで
商品の分類とデータ形式を選択し対象のCADデータを全て一括ダウンロードできます。