商品詳細
2次元・3次元CADデータダウンロード
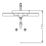
- 品 番 :
- LS703 + TLG09303J + TLDP2207J + TL4CU (750mm)
- 商品名 :
- ベッセル式洗面器
- 給水方向 :
- 壁
- 排水方向 :
- 壁
- あふれ面高さ :
- 750mm
洗面器・手洗器のあふれ面・カウンター高さについて
JIS記号・国土交通省記号品番対照表
現在の選択点数 : 1 点 / 200 点まで
3Dデータ
2Dデータ・詳細図
2Dデータ・意匠図
2Dデータ・外形図
一括ダウンロード
商品の分類とデータ形式を選択し対象のCADデータを全て一括ダウンロードできます。



